Обнаружен патент Samsung на механизм тройного складывания экрана

Samsung, похоже, делает шаги к выпуску инновационного тройного складного смартфона: недавно одобренный патент приоткрывает завесу над этим проектом. Хотя компания официально не подтвердила разработку, одобрение патента в ноябре 2023 года намекает на возможные направления работы Samsung над новым складным устройством.
Особенности и конструкция тройного складывания
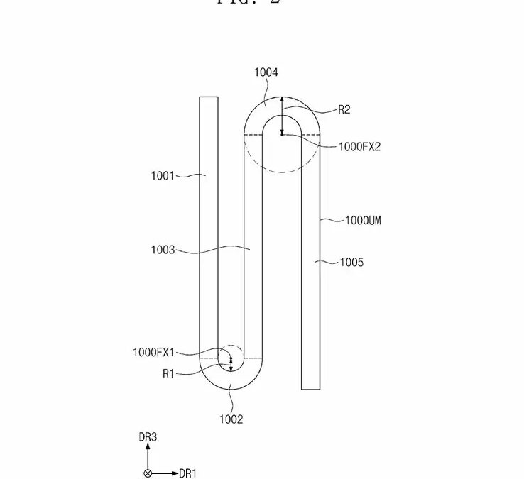
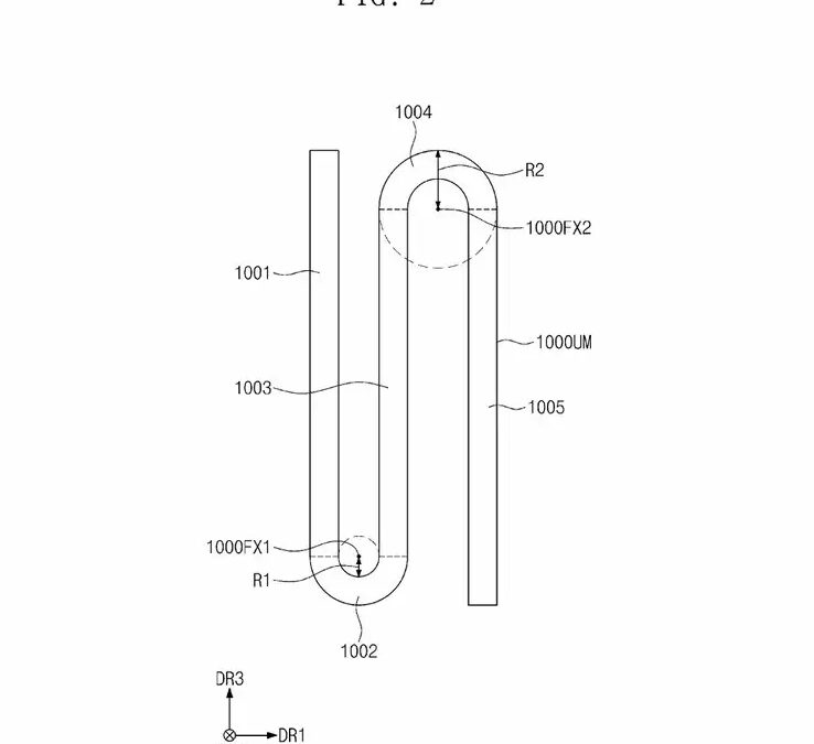
Согласно патенту, Samsung разрабатывает Z-образный механизм складывания, подобный тому, что реализован в Huawei Mate XT. Эта конструкция позволяет складываться сразу в два направления, что создает более универсальное устройство. В разложенном виде, устройство, вероятно, сможет трансформироваться в полноэкранный планшет, что особенно полезно для многозадачности и просмотра контента.
Тройное складывание также поможет увеличить экранную площадь устройства, оставаясь относительно компактным в сложенном виде. Патент, поданный еще более трех лет назад, но одобренный лишь недавно, показывает, что Samsung акцентирует внимание на качестве и надежности механизма.


Преимущества и возможные проблемы конструкции
Опыт Huawei с Mate XT помогает представить потенциальные трудности, с которыми Samsung может столкнуться. Устройства с тройным складыванием имеют тенденцию к образованию заметного залома на экране, который со временем может стать более выраженным. Вероятно, Samsung будет искать новые решения для минимизации этой проблемы, возможно, применяя улучшенные материалы и инновационные технологии сглаживания.
Для максимальной производительности Samsung, вероятно, оснастит будущий тройной складной смартфон флагманским чипсетом Snapdragon. Такой подход обеспечит поддержание высокого уровня многозадачности и плавности работы, что особенно важно для устройств с большими экранами, ориентированных на мультимедийный контент и рабочие приложения.

Потенциал на рынке и планы Samsung
Ожидается, что новый формат поможет Samsung укрепить позиции на рынке складных смартфонов. Этот шаг может также изменить приоритеты компании: Samsung, возможно, стремится сосредоточиться на улучшении функциональности и качества конструкции, а не на том, чтобы быть первым. Пока неясно, когда именно тройной складной смартфон Samsung появится на рынке, но запуск Galaxy S25 Ultra, вероятно, будет предшествовать релизу новинки.




