Новый патент Apple намекает на раскладной телефон

По мере того, как Samsung и Huawei приближаются к выпуску своих складных телефонов, похоже, что Apple может в конечном итоге последовать их примеру. Компания подала патент на устройство с гибким дисплеем и шарниром — предполагая, что Apple, по крайней мере, изучает возможность создания гибкого смартфона.

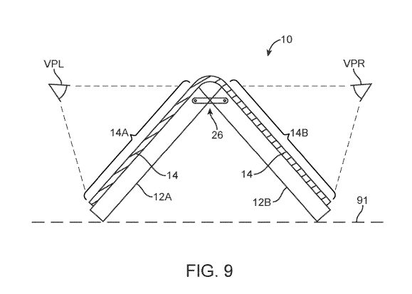
Патент показывает складной телефон в стиле раскладушки, который будет немного отличаться от других разрабатываемых. Действительно, это выглядит как устройство с одним дисплеем, которое можно сложить для лучшего размещения в чьем-то кармане, а не как устройство, которое можно сложить, чтобы предложить дисплей большего размера. Тем не менее, здесь важна лежащая в основе технология, а не форм-фактор устройства в патентных изображениях, поэтому вполне вероятно, что возможное устройство будет иметь несколько иной форм-фактор.
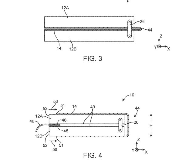
В патенте Apple описывает использование шарнира на основе трехблочной или четырехбалочной связи. В патенте также отмечается, что гибкие дисплеи могут быть установлены на корпусе устройства, перекрывая шарниры и, по существу, скрывая их от глаз. При этом дисплей может изгибаться, создавая устройство с гибким дисплеем.

Сам по себе патент является продолжением ряда различных патентов, начиная с 2011 года — что, очевидно, задолго до того, как концепция складного телефона была даже актуальна. Из-за этого имеет смысл, что изображения будут выглядеть немного странно — в конечном счете, лежащая в основе технология, вероятно, все еще актуальна, даже если способ ее использования не так важен в будущем.
В патенте также отмечается использование технологии, подобной OLED-дисплею, и упоминается, что две стороны устройства будут в значительной степени разделены, соединены только шарниром и гибким дисплеем. Другими словами, не обязательно будет чипсет или другая технология, которая работает через обе части телефона.

Конечно, будет интересно посмотреть, воспринимает ли Apple тенденцию складных телефонов или нет. Появился ряд слухов о складных телефонах Apple, и аналитики даже предположили, что складные телефоны под брендом Apple могут быть выпущены уже к 2020 году.




