OPPO получила патент на способ воспроизведения звука через экран

Что касается инновационных патентов, OPPO — одна из китайских компаний с большими ресурсами. Мы получили несколько патентов, поданных компанией, от технологии камеры до технологии отображения и звука, многие из которых еще не реализованы. Новый инновационный патент, поданный OPPO, снова заметили в сети.

Патент, поданный OPPO Guangdong Mobile Communications Co., Ltd., касается «метода зондирования экрана, устройства, электронного устройства и носителя информации». Заявка имеет номер патента CN109062536B и была впервые подана 23 июля 2018 г., но получила одобрение Патентного ведомства Китая 17 августа 2021 г.
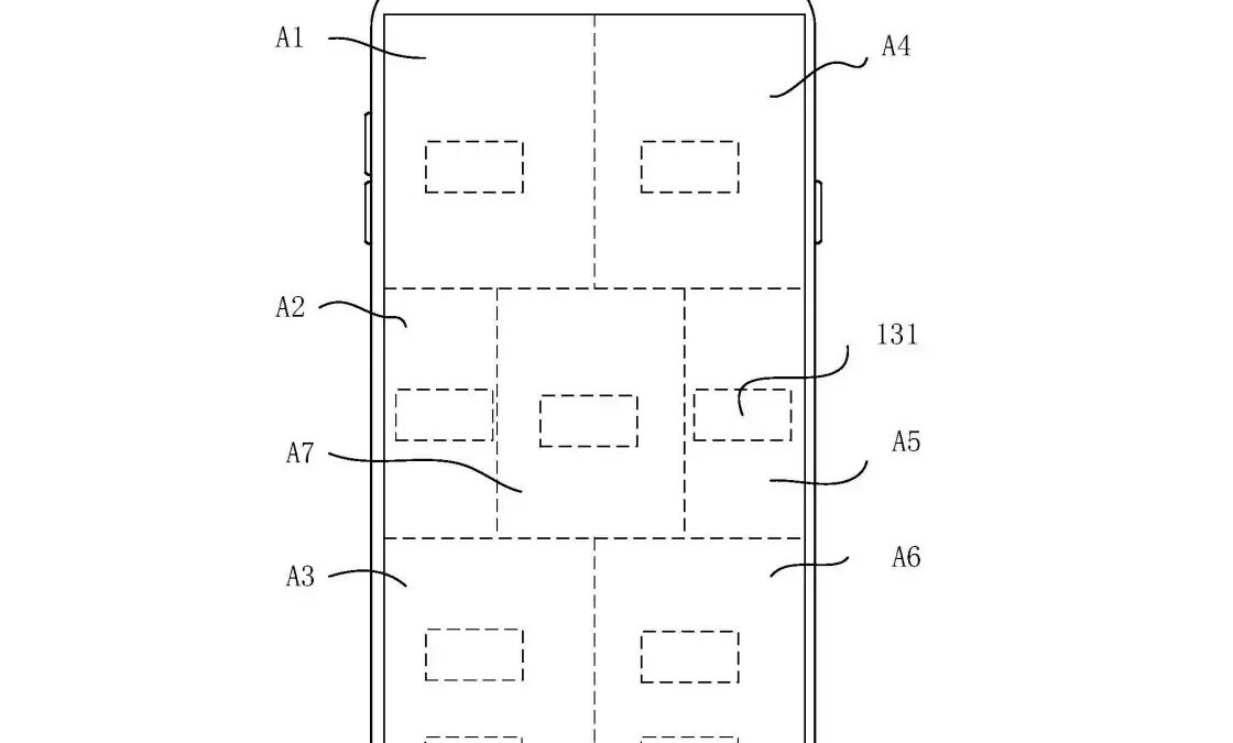
Патентная страница описывает его как метод, устройство, электронное устройство и носитель информации для экранного зондирования и относится к технической области электронных устройств. Электронное устройство включает экран, способный вибрировать и воспроизводить звук, и возбудитель, приводящий в движение экран для воспроизведения звука. На экране есть несколько звуковых зон, каждая из которых управляется разными возбудителями. Сценарий того, как это работает, представлен так, как во время воспроизведения видео, метод отслеживает, воспроизводится ли видео в небольшом окне, а затем выбирает целевую звуковую область, отличную от положения небольшого окна видео. Затем он заставляет целевую звуковую зону вибрировать и издавать звук через экран.

По сути, это метод создания звука с использованием экрана без использования звуковых устройств, таких как динамики. Патент, вероятно, является частью шага к тому, чтобы смонтировать смартфоны в их самом тонком форм-факторе. Пару лет назад технология костной проводимости, похоже, стала решением, и Xiaomi даже использовала ее на смартфоне MIX первого поколения. В конечном итоге это не прижилось. Мы не можем сказать наверняка, будет ли эта технология включена в телефон OPPO в ближайшее время.




