Porsche запатентовала 6-тактный двигатель

Porsche разработала новый 6-тактный двигатель, который может предложить значительное улучшение мощности и эффективности по сравнению с традиционными 4-тактными двигателями. Эта технология, уже запатентованная автопроизводителем, предусматривает добавление двух дополнительных тактов с использованием инновационной конструкции.
Компания Porsche подала патент на инновационный 6-тактный двигатель, который получил название «Метод работы с двигателем с двумя тройными тактами». Патент был опубликован в Бюро по патентам и товарным знакам США (USPTO) 12 сентября 2024 года, спустя несколько месяцев после подачи заявки в феврале.
Как работает обычный 4-тактный двигатель?
В традиционных 4-тактных двигателях, которые установлены в большинстве современных автомобилей, поршень выполняет четыре движения (впуск, сжатие, воспламенение и выпуск) за два оборота коленчатого вала, чтобы завершить цикл и преобразовать энергию топлива в механическую работу. В таких двигателях каждый четвертый такт — это такт мощности, который и приводит автомобиль в движение.


Чем 6-тактный двигатель от Porsche отличается от стандартного?
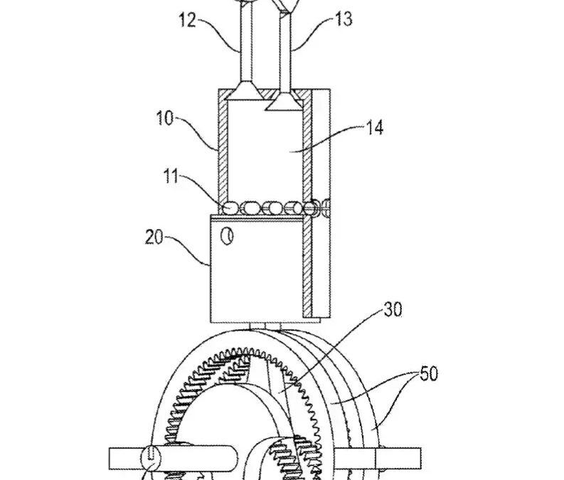
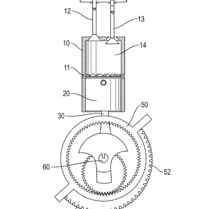
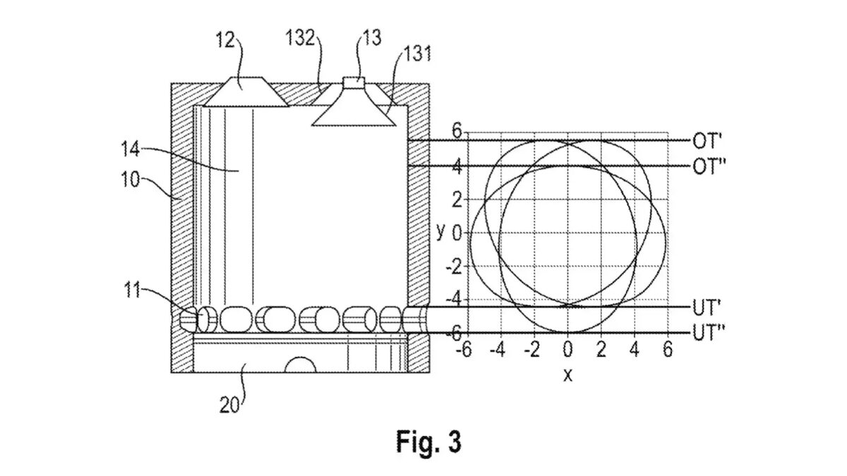
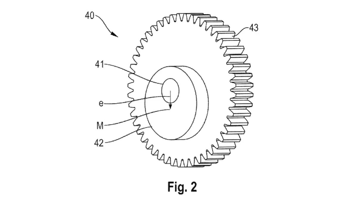
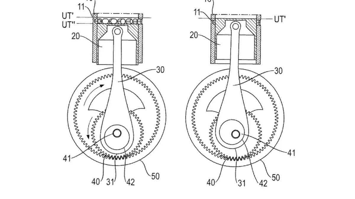
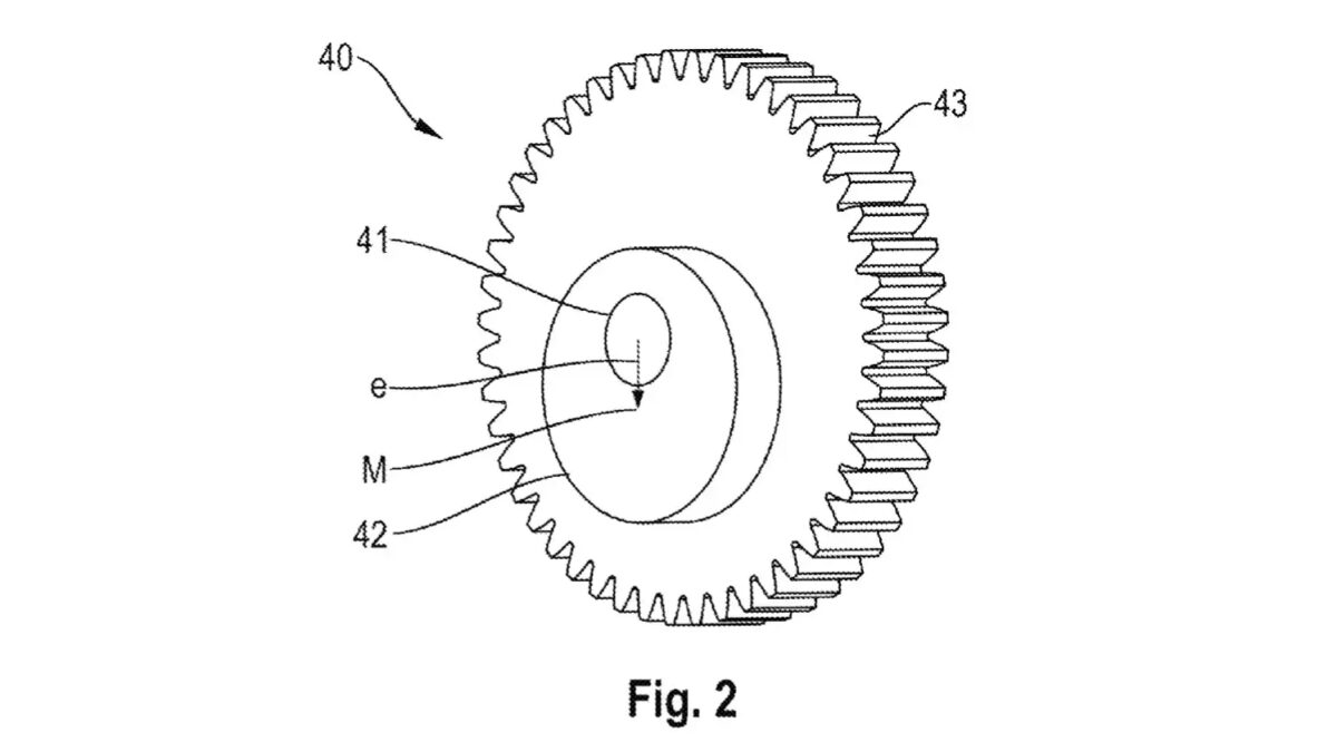
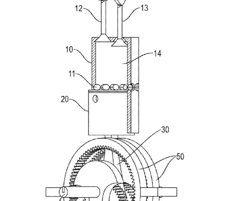
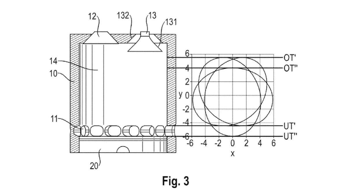
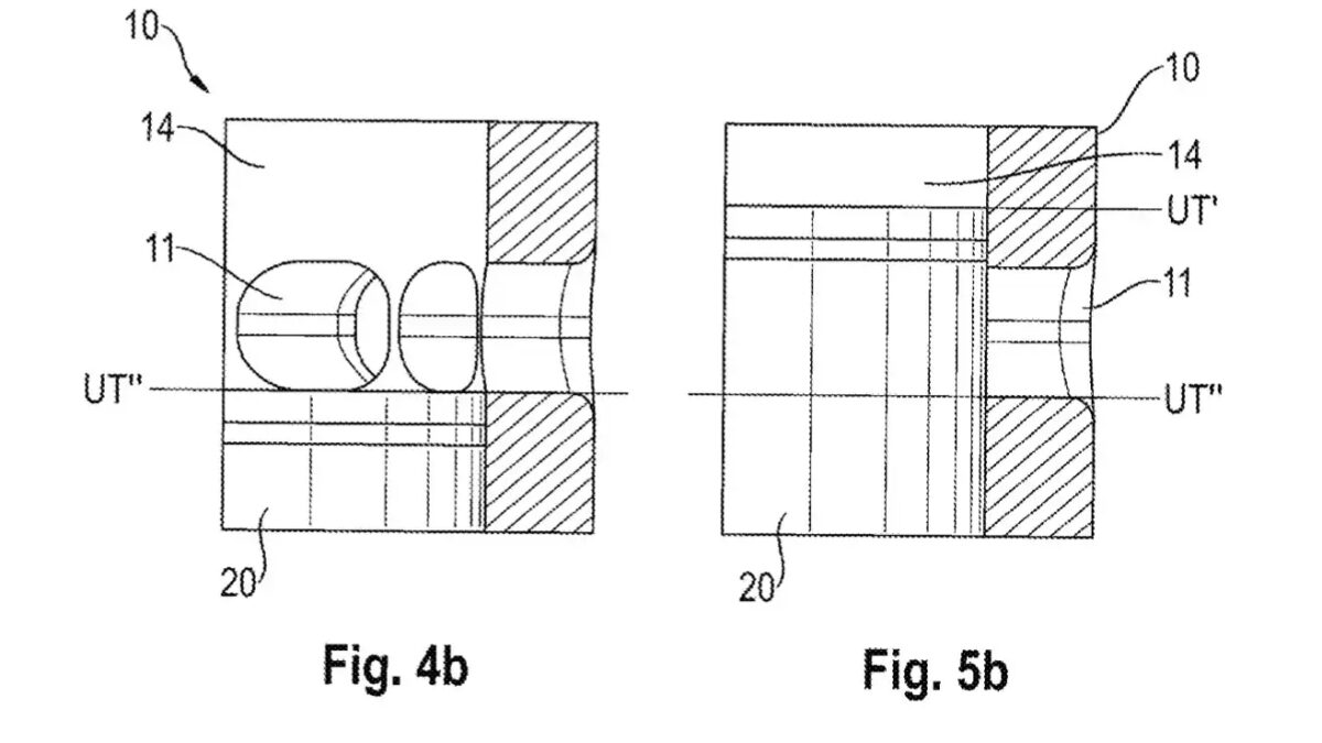
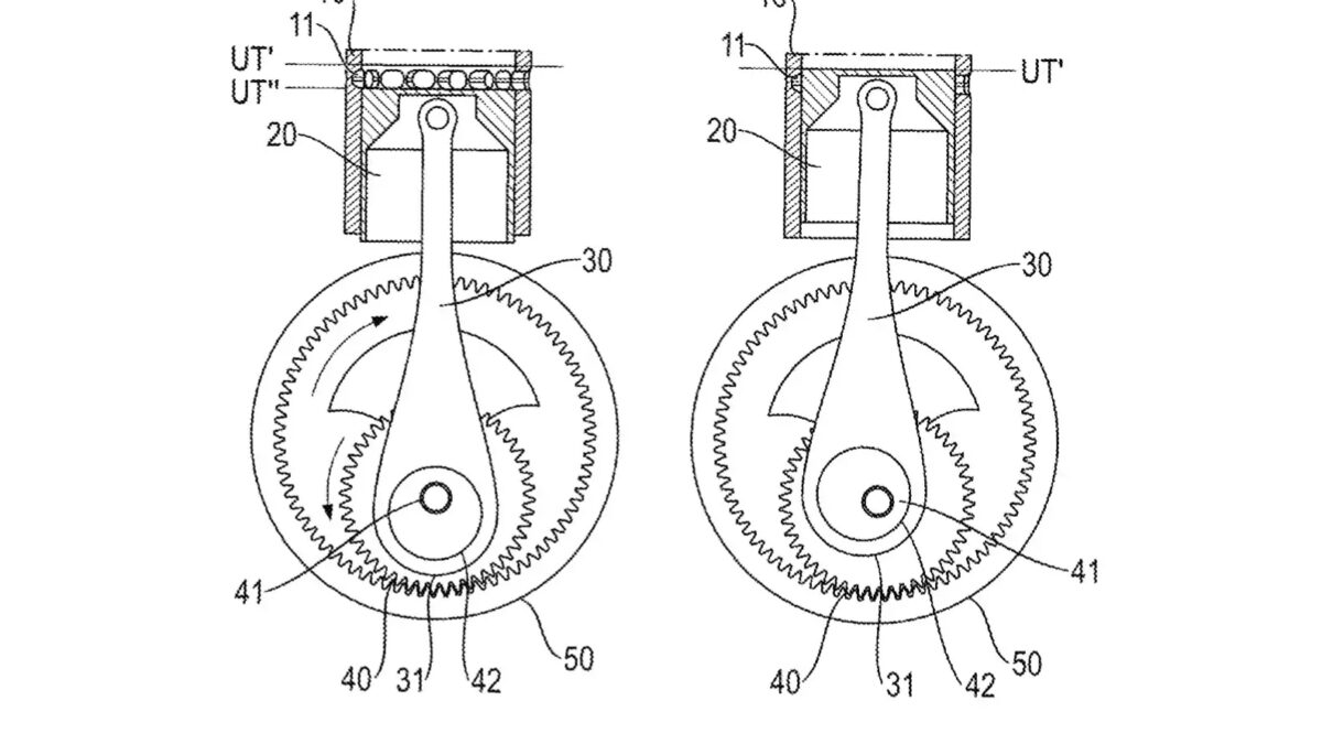
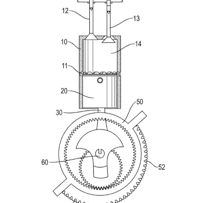
В новой патентной разработке Porsche добавляется еще один цикл сжатия и сгорания за счет изменения длины хода поршня. Это достигается с помощью эксцентриковых шестерен, которые позволяют поршню опускаться глубже в цилиндр для дополнительного такта. Дополнительные порты обеспечивают забор большего количества воздуха, после чего впрыскивается больше топлива и происходит второй такт сгорания.




Два такта мощности вместо одного
Основное преимущество 6-тактного двигателя заключается в том, что он имеет два такта мощности вместо одного, как в стандартных 4-тактных двигателях. Это означает, что за каждый третий оборот коленчатого вала двигатель генерирует такт мощности, тогда как в 4-тактных двигателях это происходит только раз за четыре оборота. Благодаря этому увеличивается мощность и КПД.
Вопросы экологии и перспективы серийного производства
Одним из главных вопросов остается соответствие 6-тактного двигателя современным стандартам по выбросам. Многие инновационные технологии в автопроме часто не доходят до массового производства из-за проблем с экологией и техническими ограничениями. Однако стоит помнить, что некоторые сложные технологии, такие как переменные степени сжатия, которые раньше считались нереализуемыми, все же были успешно внедрены автопроизводителями для снижения выбросов и повышения эффективности.

Будущее 6-тактных двигателей
Несмотря на неясные перспективы массового внедрения, патент от Porsche может стать важным шагом в развитии двигателестроения. Эта разработка подтверждает стремление автопроизводителей к созданию более мощных и эффективных силовых агрегатов, которые могли бы соответствовать требованиям будущего.




