Samsung Galaxy Z Fold 5 получит новый дизайн шарнира

Одна из проблем со складными устройствами Samsung заключается в том, что на дисплеях до сих пор видны складки. Но это может измениться с грядущим Galaxy Z Fold 5.
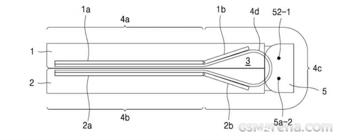
В новом отчете Naver News говорится, что компания представит новый шарнирный механизм с каплевидным вырезом для будущей модели Z Fold, который устранит печально известную складку экрана, позволяя панели полностью складываться.

Благодаря новому шарнирному механизму складной дисплей образует форму капли внутри корпуса шарнира, предотвращая образование складок между двумя сторонами панели. Подобные подходы уже есть в сериях Moto Razr и Oppo Find N. В телефонах Samsung Galaxy Z Fold 4 и Z Flip 4 по-прежнему используются петли U-образной формы, которые имеют заметные складки и не позволяют телефону полностью закрываться.
Ожидается, что компания также сохранит рейтинг водонепроницаемости IPX8 для будущего Z Fold5.




