Motorola хочет запатентовать самовосстанавливающийся дисплей

Экраны у телефонов часто бьются. Motorola пытается решить эту проблему уже не первый год. В 2015 году они выпустили Moto X Force, у которого был экран Moto ShatterShield, его было сложно разбить, но он сильно царапался. Сейчас же компания пошла другим путём.

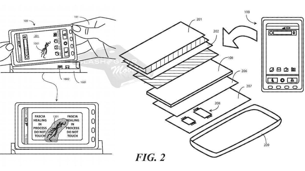
Motorola придумала технологию самовосстанавливающихся дисплеев. Что-то подобное было у LG с их затягивающимся пластиком на задней крышке (хотя глубокие царапины все равно оставались). Идея Moto заключается в использовании прозрачного пластика или стекловидного полимера, называемого смарт-стеклом. Когда на этом стекле появляется трещина, то пользователь получает уведомление, после чего он может начать процесс восстановления.

Восстановление происходит за счёт нагрева полимера самим смартфоном. В это время пользоваться устройством нельзя. Владелец может самостоятельно указать область, где находится повреждение и к которой нужно применить нагрев. При этом в патенте говорится, что далеко не каждую трещину можно исправить таким образом. Например, если откололся кусок стекла, то обратно его уже не вернуть. На данный момент это только патент, и нет никаких гарантий, что компания будет использовать эту технологию в реальных устройствах. Но только представьте, как это может быть круто.




