Патент Apple на складной iPhone показывает, как избежать повреждения экрана

В теории сгибающиеся смартфоны кажутся идеальными – у них больший дисплей, который также можно уменьшить до карманного размера. Хотя на самом деле их дизайн имеет довольно много проблем.
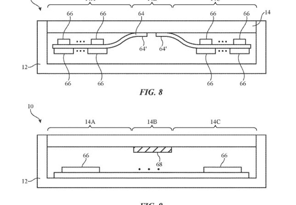
Например, одной из трудностей является предотвращение повреждения дисплеев после их многократного складывания и раскладывания. А особенно в холодное время. Однако Apple знает, как это разрешить, несмотря на то, что еще не представила свой вариант складного девайса.

В недавно опубликованном патенте Apple указывает, что ключом к предотвращению любых повреждений дисплея является нагрев. Так, благодаря различным датчикам, данное устройство сможет отслеживать температуру панели дисплея. Если температура сильно упадет, то отдельные компоненты будут нагревать определенную часть экрана. Таким образом, согласно патенту, гибкий экран сможет легко приспосабливаться к своему новому положению, уменьшая любое потенциальное повреждение.
Поскольку добавление отдельного нагревательного компонента к устройству может добавить ненужные объемы, Apple также предложила альтернативу. Предлагается, что автоматическое увеличение яркости будет нагревать панель экрана в пораженной зоне. Потом, при достаточном нагревании яркость автоматически будет снижаться.
Напомним, Apple до сих пор официально не анонсировала свою работу над сгибающимся смартфоном. Поэтому все еще возможно, что такое устройство никогда не будет выпущено. Однако, если оно в конечном счете увидит свет, по слухам, это произойдет не раньше второй половины 2020 года.







