Samsung планирует революцию для Galaxy Ring: управление экранами и передача данных

Galaxy Ring — относительно новое устройство в линейке Samsung, которое пока ограничивается функциями фитнес-трекера. Но планы компании на этот носимый гаджет гораздо амбициознее.
Управление устройствами с помощью кольца
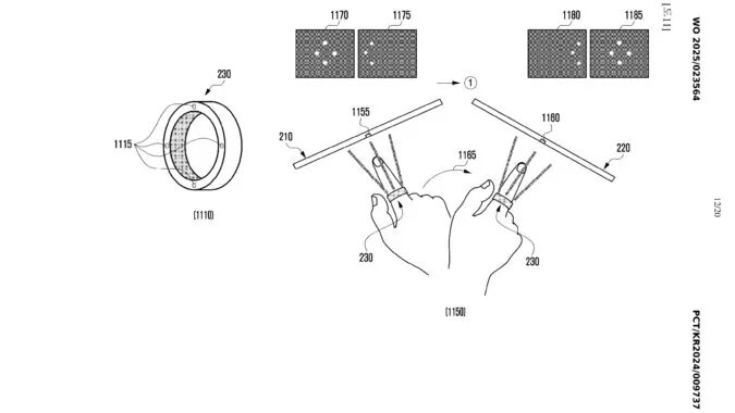
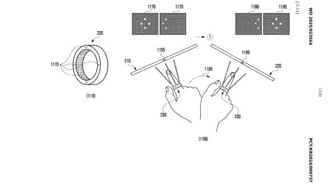
Согласно недавно опубликованному патенту Samsung, Galaxy Ring может получить возможность управлять экранами и передавать данные между подключёнными устройствами, такими как смартфоны, ноутбуки и планшеты.
В патенте описывается метод управления дисплеем с помощью устройства ввода, роль которого выполняет умное кольцо. Иллюстрации показывают, как Galaxy Ring подключается по беспроводной сети к ноутбуку и планшету, позволяя пользователю перемещать файлы, приложения и выполнять другие действия всего лишь движением пальца.



Предыдущие идеи и перспективы
Это не первый патент Samsung, описывающий инновационные возможности для Galaxy Ring. Ранее компания представила концепцию кольца, которое автоматически подстраивает свой размер, используя давление тела пользователя для идеальной посадки.
Хотя нет гарантии, что эти функции появятся уже в следующей версии устройства, их практичность делает такую перспективу весьма заманчивой.
Не только кольцо
Интересно, что в описании патента Samsung отмечает: устройство ввода может включать не только смарт-кольцо, но и, например, электронное перо. Это намекает на возможное расширение аналогичных функций и для S Pen.
Будущее носимых устройств Samsung обещает стать не только удобным, но и по-настоящему инновационным.




