Новый «яблочный» патент — очки дополненной реальности Apple

Разработки купертиновской компании в областях дополненной реальности были презентованы ещё на WWDC 2017, когда вместе с iOS 11 была показана платформа ARKit для создания соответствующих приложений. Однако лишь на днях очки дополненной реальности Apple были официально запатентованы — и они выглядят, мягко говоря, интересно.

Очки дополненной реальности Apple — грядущий прорыв?
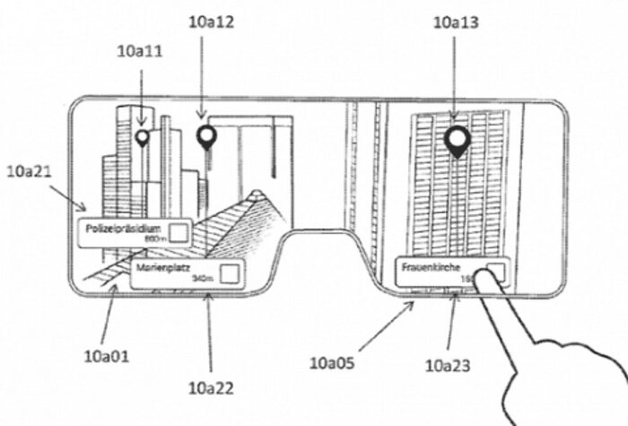
На самом деле о них мало что известно — картинка прорвалась в Интернет с боем и не сопровождалась дополнительными комментариями. Известно лишь то, что данные очки способны накладывать виртуальные изображения на реальные. О том, как технологиябудет выглядеть в реальности, можно увидеть на видео ARKit.
Напомним, что первыми на рынке дополненной реальности были Google с проектом Google Glass, однако она оказалась невыгодной. Сейчас же направление доп. реальности активно развивает Microsoft, но не в сторону потребителей, а для создателей контента, вроде инженеров и архитекторов — продукт HoloLens очень хорошо подойдёт для этих целей.
Источник: 4PDA




