Будущие Apple Watch могут получить внешний фонарик

В Apple Watch есть функция фонарика, которая делает экран часов полностью белым, что позволяет пользователям искать вещи в темноте. Однако будущие часы могут поставляться с внешним фонариком, который должен стать более ярким и полезным.
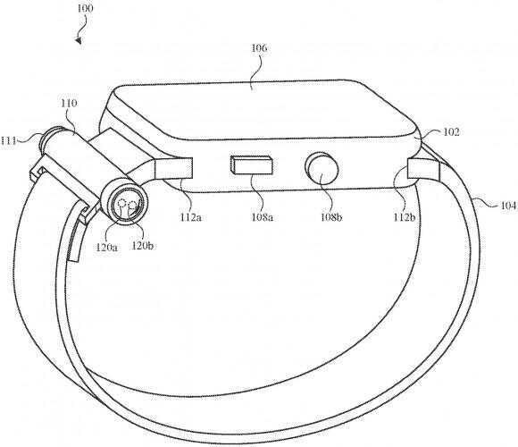
Согласно патенту, выданному Apple, компания работает над устройством под названием «Модульная лёгкая сборка для носимого устройства», которое «предназначено для интеграции с носимыми устройствами».
Схема, включенная в патент, дает нам четкое представление о том, как могут выглядеть будущие Apple Watch с внешним фонариком, прикреплённым к ремешку. Такой вариант кажется более практичным, так как пользователи смогут направлять фонарик в нужное место, не выворачивая запястье.
Примечательно, что внешний фонарик будет иметь собственный источник питания. То есть, его использование не будет влиять на аккумулятор самих часов. Также в патенте упоминается, что фонарик будет защищён от воды и пыли.
В какой версии часов появится эта разработка и появится ли — пока не известно.





