Apple может добавить индикаторы активности в ремешки Apple Watch

Ремешки Apple Watch, возможно, станут более высокотехнологичными. В новом патенте Apple отмечается использование индикаторов на браслете Apple Watch для отслеживания прогресса физического активности.
Патент отмечает, что ремешок будет работает вместе с самими Apple Watch – индикаторы на браслете будут получать и отображать информацию, собранную часами.

Сама идея не нова — патент является продолжением прошлых патентов компании. Однако ясно, что Apple все еще работает над этой концепцией.

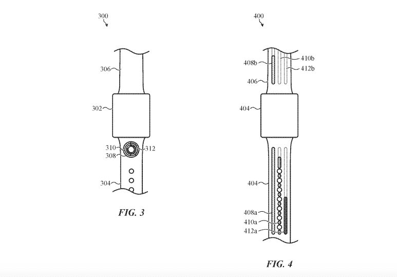
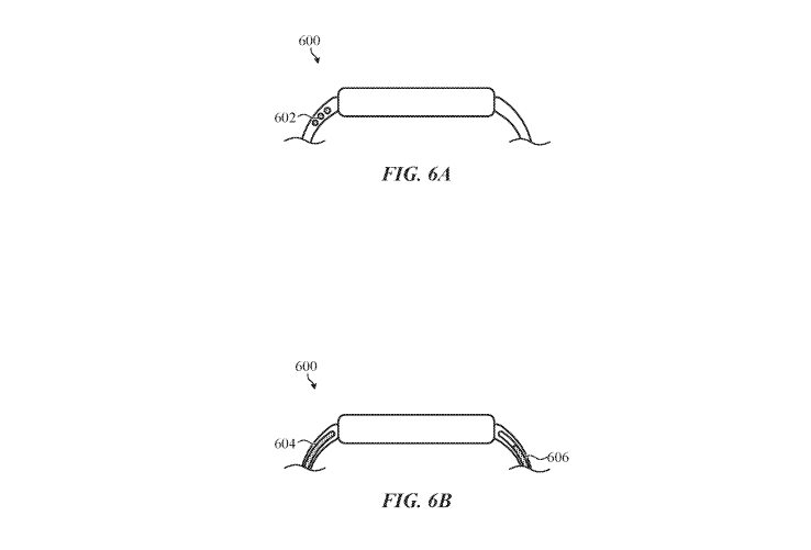
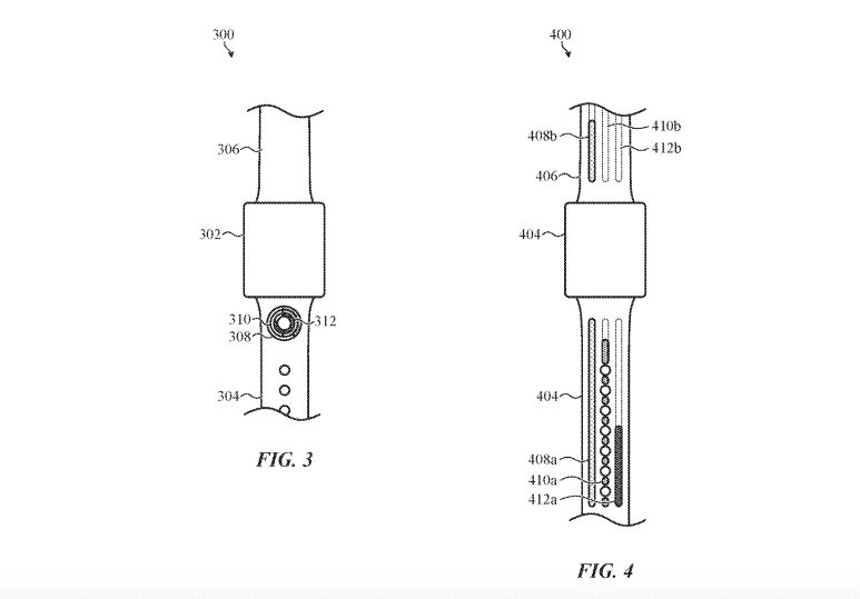
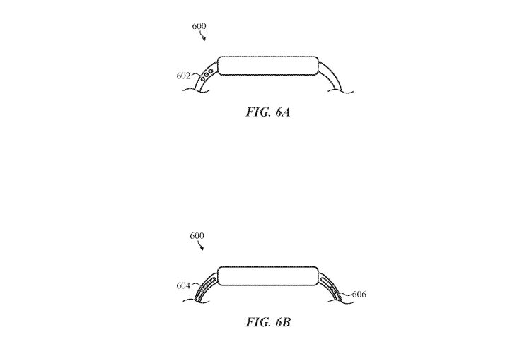
Патент включает изображения различного вида индикаторов на ремешке Apple Watch. Например, браслет может показывать кольца активности или частоту сердечных сокращений. Некоторые индикаторы также могут быть включены на боковой стороне браслета.

Слухи о том, что Apple встроит новую технологию в браслеты часов, появляются в течение нескольких лет, но до сих пор нет никаких гарантий, что это произойдет на самом деле. Возможно, патент останется просто патентом.




