Патент Microsoft показывает улучшение подставки Surface Pro

Высококачественные планшеты Microsoft Surface Pro имеют встроенную подставку, которая может поддержать экран, чтобы дать вам лучший угол обзора для просмотра потокового контента или использовать устройство как ноутбук с дополнительной крышкой Quick Type. Теперь, похоже, Microsoft стремится улучшить механизм подставки. Патентная заявка, выпущенная USPTO (спасибо, Windows United), раскрывает некоторые изменения в аппаратной функции, которые могут быть реализованы сразу после выхода Surface Pro 7.

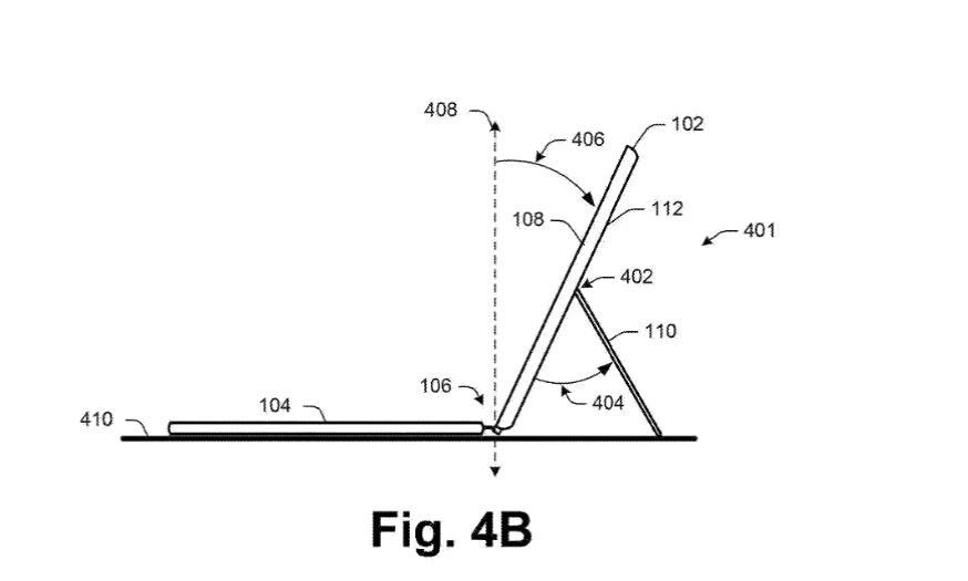
Патент «Фрикционный шарнир с сопротивлением на основе сцепления» охватывает довольно сложную механику, которая позволит пользователю закрыть подставку, используя при этом меньше энергии, чем требуется для ее открытия. Кроме того, уровень сопротивления при закрытии подставки может регулироваться пользователем. Это должно препятствовать случайному открытию подставки, в то же время облегчая ее закрытие.

Возможно, вы помните, что предыдущий патент на Surface Pro показал, что Microsoft работает над более тонким аксессуаром для клавиатуры Quick Type для планшета. Перемещая схему трекпада на материнскую плату и убирая клавиатуру в процессе производства, дополнительная клавиатура QWERTY для Surface Pro 7 может быть тоньше, чем предыдущие модели.

Заявке на патент был присвоен номер US20190064886, и она была первоначально подана 29 августа 2017 года. Изображения из заявки можно посмотреть в слайд-шоу ниже. Мы должны увидеть анонс Surface Pro 7 в следующем октябре.




