Патентная заявка Microsoft демонстрирует улучшенную подставку Surface Pro

Планшеты Microsoft Surface Pro имеют встроенную подставку, которая обеспечивает лучший угол обзора для просмотра контента и дает возможность использовать устройство в режиме ноутбука с дополнительной съемной обложкой Quick Type. Теперь, похоже, что Microsoft стремится улучшить механизм подставки. Патентная заявка компании раскрывает некоторые изменения в аппаратной функции, которые могут быть реализованы уже в Surface Pro 7.
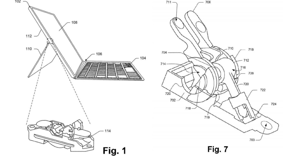
Патент «Фрикционный шарнир с сопротивлением на основе сцепления» демонстрирует довольно сложный механизм, который позволит пользователю закрыть подставку, используя при этом меньше энергии, чем требуется для ее открытия. Кроме того, уровень сопротивления при закрытии подставки может регулироваться пользователем. Это должно препятствовать случайному открытию подставки, в то же время облегчая ее закрытие.

Заявке на патент был присвоен номер US20190064886, и она была первоначально подана 29 августа 2017 года. Можно ожидать, что Microsoft продемонстрирует новую технологию уже с анонсом Surface Pro 7 в октябре этого года.




