Apple усилит крышки MacBook: новый магнитный механизм без побочных эффектов

Apple готовит важное улучшение конструкции MacBook — и речь не о производительности, а о крышке ноутбука. Компания подала патент на новую магнитную систему, которая должна сделать устройство надёжнее, безопаснее и ещё более «премиальным» в ощущениях.
В нынешних моделях MacBook используется система постоянных магнитов, которая удерживает крышку закрытой и фиксирует её положение. Однако, по данным из патентной заявки, такие магниты создают остаточные магнитные поля даже тогда, когда не используются. Apple утверждает, что эти поля могут негативно влиять на находящиеся рядом предметы — например, кредитные карты.
Электромагниты вместо постоянных
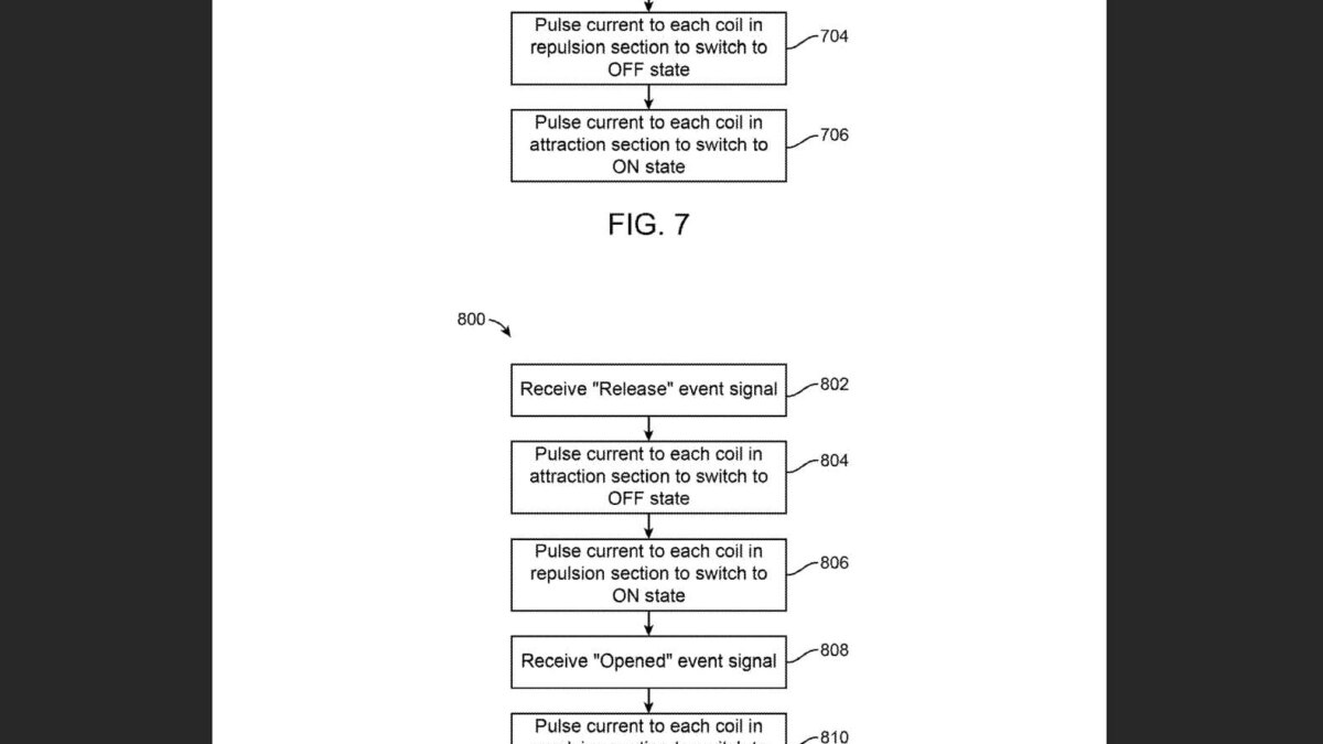
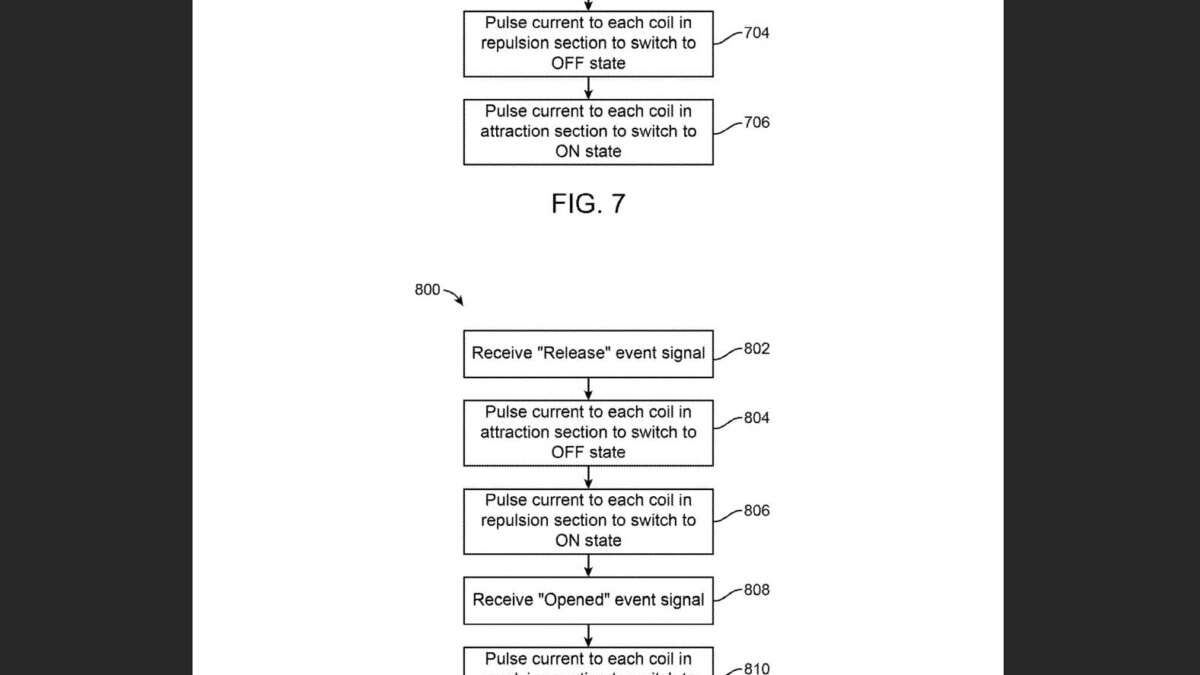
В новом патенте Apple предлагает заменить постоянные магниты на управляемую электромагнитную систему. Такая технология позволит включать или отключать магниты в зависимости от ситуации. Когда крышка MacBook открыта, система будет полностью деактивирована, исключая любые побочные магнитные излучения.
Дополнительный плюс: Apple сможет использовать более мощные магниты, которые надёжнее фиксируют крышку, не рискуя повредить окружающие предметы, когда ноутбук открыт. Это усилит ощущение премиальности, за которое и ценятся MacBook.

Повышение надёжности без жертв эстетики
Хотя современные магниты в MacBook не настолько сильные, чтобы повредить банковские карты, Apple традиционно стремится к максимальной надёжности и утончённости в каждой детали. Улучшение конструкции крышки, пусть и не самое яркое нововведение, может укрепить репутацию MacBook как устройства высокого класса, особенно на фоне конкурентов с Windows.
На текущий момент это лишь патент, но идея выглядит куда более реалистичной, чем множество других концепций, которые Apple регистрирует «на будущее».




