Samsung собирается делать беспроводные телевизоры

Существует несколько способов скрыть или замаскировать пучок кабелей, которые висят на большинстве настенных телевизоров, — питание, HDMI и т. д. Но ни один из них не является настолько невидимым, как беспроводная технология, которая недавно была раскрыта в патенте Samsung, поданном во Всемирное ведомство интеллектуальной собственности в марте прошлого года. Он устраняет кабели в целом, используя разновидность технологии беспроводной связи, которая в настоящее время позволяет заряжать телефон без провода.

Из всех компаний, производящих телевизоры, Samsung, похоже, больше всего стремится минимизировать и устранить неприглядные кабели, свисающие из устройства. На выставке CES 2017 компания Samsung представила инновационную функцию для своего телевизора с квантовой точкой Q9: все порты, которые обычно находятся на задней панели телевизора, были перенесены на внешнюю коробку, в результате чего остался один тонкий кабель, который можно легко приклеить к стене и закрасить.

Но устранение этих кабелей все еще является идеальным решением. Форматы, такие как WirelessHD, WHDI и WiGig, позволяют отправлять видеосигналы в формате HD и даже 4K на телевизор без необходимости в кабелях, соединяющих их, при условии, что вы готовы тратить дополнительные средства на это оборудование. Наконец, дни шнура тоже могут быть сочтены. Как заметил LetsGoDigital, в патенте Samsung подробно описана установка, которая работает аналогично тому, как ваш телефон может заряжаться беспроводным способом, лёжа на индуктивной зарядной площадке, но на немного большем расстоянии.

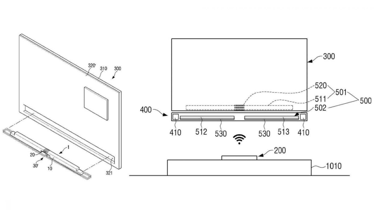
Технология, описанная в патенте, отличается от других беспроводных решений для питания, которые выходят на рынок, таких как чипы Ossia и передатчики Cota, которые позволяют устройству высасывать энергию из воздуха на расстояниях до 12 футов. Решение Samsung по-прежнему будет использовать катушки из проволоки и электромагнитов, чтобы вызвать движение тока на короткие расстояния. Приемник, коробка, похожая на панель громкоговорителей в патентных документах, будет установлена на нижней части телевизора, в то время как соответствующий передатчик будет расположен в нескольких футах под ним, в идеале как часть развлекательного центра, где его питание шнур может быть легко спрятан.
В некотором смысле, смешно, что для замены тонкого провода, длина которого составляет всего несколько футов, потребуется так много дополнительного оборудования. Но также нет никаких сомнений в том, что многие люди с удовольствием тратят непомерно большие суммы денег на совершенствование своих телевизионных установок, и это потенциально может быть дешевле, чем платить кому-то за дырки в вашей стене, чтобы скрыть ужасные провода.
Конечно, неизвестно, когда мы сможем увидеть эту функцию на флагманских телевизорах Samsung — это всего лишь патент, что означает, что Samsung может даже никогда не создать такую вещь, — но она, несомненно, впервые появится на какой-нибудь будущей CES или IFA, где производителям нравится представлять новейшие, самые большие и самые дорогие телевизионные инновации.




